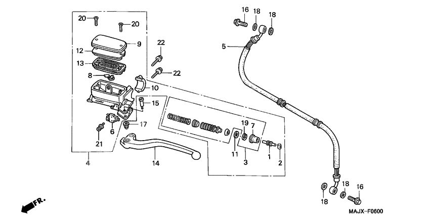
Главный цилиндр сцепления
Главный цилиндр сцепления
Штанга (Ref #1)
1
Part #22884-MB0-006
Втулка (Ref #2)
2
Part #22885-MB0-006
PISTON SET (Ref #3)
3
Part #22886-MB0-305
M/cyl sub-assy (Ref #4)
4
Part #22890-MZ2-305
Hose, clutch (Ref #5)
5
Part #22900-MAJ-G00
Switch assy., clutch (Ref #6)
6
Part #35330-MB0-003
Ботинок (Ref #7)
7
Part #45504-410-003
PROTECTOR (Ref #8)
8
Part #45512-MA6-006
Cap, master cylinder (Ref #9)
9
Part #45513-MM5-016
HOLDER (Ref #10)
10
Part #45517-166-006
Plate, stopper (Ref #11)
11
Part #45518-MB0-006
Пластина (Ref #12)
12
Part #45518-MM5-006
DIAPHRAGM (Ref #13)
13
Part #45520-MM5-006
Lever, l. handlebar (Ref #14)
14
Part #53178-KE8-006
Bolt, r (Ref #15)
15
Part #90114-MA5-671
Bolt, oil (10x22) (Ref #16)
16
Part #90145-MS9-612
Bolt, oil (10x22) (Ref #16)
16
Part #90145-MS9-612
Bolt, oil (10x22) (Ref #16)
16
Part #90145-MS9-612
Bolt, oil (10x22) (Ref #16)
16
Part #90145-MS9-612
Nut, cap, 6mm (Ref #17)
17
Part #90201-415-000
Circlip (18mm) (Ref #19)
19
Part #90651-377-003
Болт (Ref #20)
20
Part #93600-040120G
Болт (Ref #20)
20
Part #93600-040120G
Болт (Ref #20)
20
Part #93600-040120G
Болт (Ref #20)
20
Part #93600-040120G
Screw-washer (Ref #21)
21
Part #93893-040-120-7
Болт (Ref #22)
22
Part #96001-0602207
Болт (Ref #22)
22
Part #96001-0602207
Болт (Ref #22)
22
Part #96001-0602207
Болт (Ref #22)
22
Part #96001-0602207
