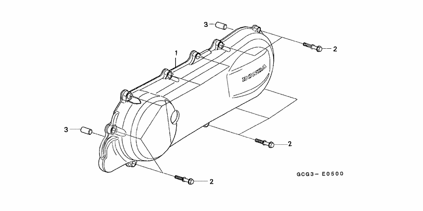
Left crankcase cover
Left crankcase cover
COVER (Ref #1)
1
Part #11341-GCG-931
Dowel pin (Ref #3)
3
Part #94301-10200
Dowel pin (Ref #3)
3
Part #94301-10200
Dowel pin (Ref #3)
3
Part #94301-10200
Dowel pin (Ref #3)
3
Part #94301-10200
-
-
Цена: 140.00 р.
Доступно: 0
-
