Воздушный фильтр
Воздушный фильтр
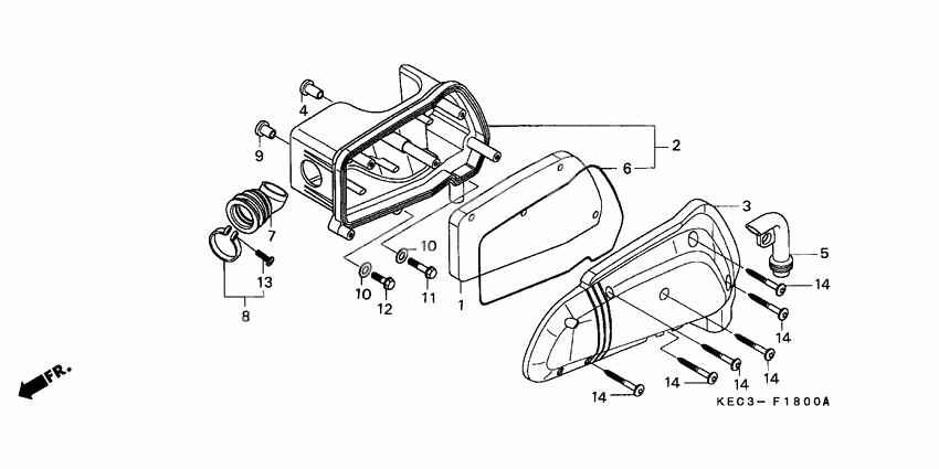
Element.air/c (Ref #1)
1
Part #17205-GBY-910
Case sub assy,air (Ref #2)
2
Part #17225-GBY-910
Cover,air/c (Ref #3)
3
Part #17207-KEC-000
Collar, air cleaner setting (Ref #4)
4
Part #17208-GR1-010
Duct,air/c (Ref #5)
5
Part #17215-KEC-000
Валик (Ref #6)
6
Part #17222-MN4-405
Tube,air/c conn. (Ref #7)
7
Part #17253-GBY-910
Band,air/c connec (Ref #8)
8
Part #17254-GAV-700
Collar,pillion st (Ref #9)
9
Part #50731-KV3-770
Washer, fr. fender (Ref #10)
10
Part #61102-KF9-900
Washer, fr. fender (Ref #10)
10
Part #61102-KF9-900
Washer, fr. fender (Ref #10)
10
Part #61102-KF9-900
Washer, fr. fender (Ref #10)
10
Part #61102-KF9-900
Bolt (6x30) (Ref #11)
11
Part #90104-GAV-701
Bolt,flange,6x40 (Ref #12)
12
Part #90104-GBY-910
Screw, pan, 4x25 (Ref #13)
13
Part #93500-040-250-A
