Tools
Tools
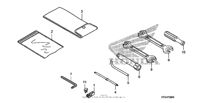
Съёмник мини предохранитель (Ref #1)
1
Part #38235-S04-003
Bag, service book (Ref #2)
2
Part #77251-GR1-000
Bag (Ref #3)
3
Part #99008-01600
Screw dr.,double (Ref #4)
4
Part #89102-KPR-900
Bar,handle (Ref #5)
5
Part #89211-KPR-900
Wrench,plug,16 (Ref #6)
6
Part #89216-KBH-000
Wrench, hex. (4mm) (Ref #7)
7
Part #89221-MBZ-K00
Spanner (8x12) (Ref #8)
8
Part #89231-KTZ-D01
Spanner (10x14) (Ref #9)
9
Part #89233-KTZ-D01
Grip, screwdriver (Ref #10)
10
Part #89235-KPR-900
Fuse (Ref #11)
11
Part #98200-33000
