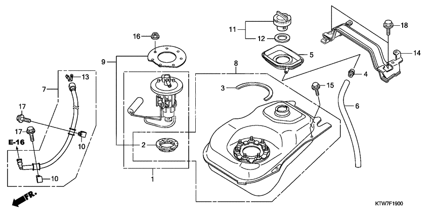
Tank fuel
Tank fuel
Pump unit (Ref #1)
1
Part #16730-KTW-900
Gasket a, fuel pump (Ref #2)
2
Part #17515-GEV-761
Seal, fuel tank (Ref #3)
3
Part #17516-KTF-640
Joint, fuel tube (Ref #4)
4
Part #17525-KBN-900
Tray, fuel (Ref #5)
5
Part #17525-KTZ-D00
Трубка дренажная (Ref #6)
6
Part #17526-KTF-640
Hose comp. (Ref #7)
7
Part #17528-KTW-901
Комплект бака (Ref #8)
8
Part #17530-KTW-900
PLATE SET (Ref #9)
9
Part #17540-KTW-900
Шланг топливный (Ref #10)
10
Part #17568-KRJ-900
Шланг топливный (Ref #10)
10
Part #17568-KRJ-900
Шланг топливный (Ref #10)
10
Part #17568-KRJ-900
Шланг топливный (Ref #10)
10
Part #17568-KRJ-900
Cap, fuel filler (Ref #11)
11
Part #17620-GCC-C51
Прокладка (Ref #12)
12
Part #17632-383-831
RETAINER (Ref #13)
13
Part #17711-S0X-003
BRACKET (Ref #14)
14
Part #50250-KTW-900
Bolt-washer, 6x12 (Ref #15)
15
Part #93404-0601200
Гайка (Ref #16)
16
Part #94050-06000
BOLT (Ref #17)
17
Part #95701-060-120-0
BOLT (Ref #17)
17
Part #95701-060-120-0
BOLT (Ref #17)
17
Part #95701-060-120-0
BOLT (Ref #17)
17
Part #95701-060-120-0
Bolt, flange, 8x16 (Ref #18)
18
Part #95701-0801600
