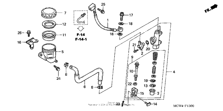
Rear brake master cylinder
Rear brake master cylinder
Hose, rr. (Ref #1)
1
Part #43310-MCW-D01
Коннектор (Ref #2)
2
Part #43503-MB2-006
Ботинок (Ref #3)
3
Part #43504-MB2-006
M/cyl sub-assy, rr. (Ref #4)
4
Part #43510-MCW-D02
Стакан (Ref #5)
5
Part #43511-MA6-006
Hose, rr. (Ref #6)
6
Part #43512-MCW-D01
Cap, oil cup (Ref #7)
7
Part #43513-MY1-006
Clamp, master cylinder oil hose (Ref #8)
8
Part #43514-445-771
Clamp, master cylinder oil hose (Ref #8)
8
Part #43514-445-771
Clamp, master cylinder oil hose (Ref #8)
8
Part #43514-445-771
Clamp, master cylinder oil hose (Ref #8)
8
Part #43514-445-771
Piston set, rr. (Ref #9)
9
Part #43520-MCW-D02
Штанга (Ref #10)
10
Part #43530-MCW-D01
DIAPHRAGM (Ref #11)
11
Part #45520-300-000
Пластина (Ref #12)
12
Part #45521-MJ6-006
Circlip (Ref #13)
13
Part #46182-500-013
Pin, brake rod (Ref #14)
14
Part #46503-MAL-000
Joint, brake rod (Ref #15)
15
Part #46504-MAL-601
Plate, oil cup (Ref #16)
16
Part #50280-MCW-D00
Bolt, oil (10x22) (Ref #17)
17
Part #90145-MS9-612
Шайба (Ref #18)
18
Part #90545-300-000
Шайба (Ref #18)
18
Part #90545-300-000
Шайба (Ref #18)
18
Part #90545-300-000
Шайба (Ref #18)
18
Part #90545-300-000
Стопорное кольцо поршня (Ref #19)
19
Part #90651-MBG-006
Прокладка (Ref #20)
20
Part #91212-422-006
Screw-washer (Ref #21)
21
Part #93893-040-120-7
Гайка (Ref #22)
22
Part #94002-080-000-S
PIN (Ref #23)
23
Part #94201-20120
BOLT (Ref #24)
24
Part #95701-060-160-7
Bolt, flange, 6x25 (Ref #25)
25
Part #95701-060-250-7
Bolt, flange, 6x10 (Ref #26)
26
Part #96001-060-100-0
