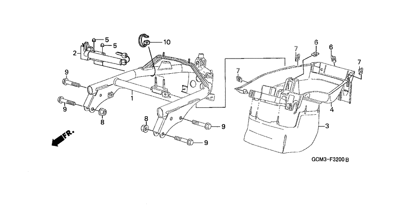
Rear fender
Rear fender
Frame comp,rr (Ref #1)
1
Part #50200-GCM-900
LOCK ASSY,SEAT (Ref #2)
2
Part #77230-GCM-900
Plate,splash guar (Ref #3)
3
Part #80104-GCM-900
Fender b,rear (Ref #4)
4
Part #80105-GCM-900
Гайка (Ref #5)
5
Part #90301-693-000
Гайка (Ref #5)
5
Part #90301-693-000
Гайка (Ref #5)
5
Part #90301-693-000
Гайка (Ref #5)
5
Part #90301-693-000
Nut, clip (6mm) (Ref #6)
6
Part #90305-GK8-000
Nut, clip (6mm) (Ref #6)
6
Part #90305-GK8-000
Nut, clip (6mm) (Ref #6)
6
Part #90305-GK8-000
Nut, clip (6mm) (Ref #6)
6
Part #90305-GK8-000
Гайка (Ref #8)
8
Part #94050-08000
Гайка (Ref #8)
8
Part #94050-08000
Гайка (Ref #8)
8
Part #94050-08000
Гайка (Ref #8)
8
Part #94050-08000
Band, wire, 165mm (black) (Ref #10)
10
Part #90651-KV6-003
