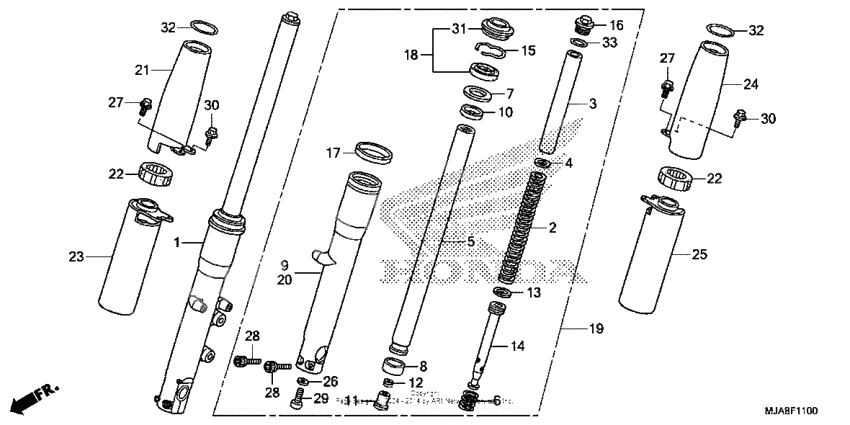
Front fork (1)
Front fork (1)
Fork set, r. fr. (Ref #1)
1
Part #51400-MEG-305
Spring, fr. fork (Ref #2)
2
Part #51401-MEG-003
Прокладка (Ref #3)
3
Part #51402-MEG-003
Шайба (Ref #4)
4
Part #51404-MBA-003
Pipe, fr. fork (Ref #5)
5
Part #51410-MEG-003
Spring, fr. rebound (Ref #6)
6
Part #51411-MBA-003
Шайба (Ref #7)
7
Part #51412-KA4-004
Скользящая втулка пера вилки (Ref #8)
8
Part #51415-MEG-003
Case, r. (lower) (Ref #9)
9
Part #51420-MEG-A41
Bush, guide (Ref #10)
10
Part #51424-MCT-003
Piece, oil lock (Ref #11)
11
Part #51431-MBA-003
Spring, oil lock (Ref #12)
12
Part #51433-MBA-J50
Кольцо поршневое (Ref #13)
13
Part #51437-MCT-003
Pipe, seat (Ref #14)
14
Part #51440-MEG-003
Кольцо (Ref #15)
15
Part #51447-KA4-004
Bolt, fr. fork (Ref #16)
16
Part #51450-MEG-901
Guide, cover (Ref #17)
17
Part #51460-MCK-A01
Seal set, fr. fork (Ref #18)
18
Part #51490-MCT-003
Fork set, l. fr. (Ref #19)
19
Part #51500-MEG-305
Case, l. (lower) (Ref #20)
20
Part #51520-MEG-A41
Cvr, r. fr. fork top (Ref #21)
21
Part #51610-MEG-000
Mount, fr. (Ref #22)
22
Part #51611-MBA-000
Mount, fr. (Ref #22)
22
Part #51611-MBA-000
Mount, fr. (Ref #22)
22
Part #51611-MBA-000
Mount, fr. (Ref #22)
22
Part #51611-MBA-000
Cover, r. fr. fork (Ref #23)
23
Part #51620-MEG-000
Cvr, l. fr. fork top (Ref #24)
24
Part #51660-MEG-000
Cover, l. fr. fork (Ref #25)
25
Part #51670-MEG-000
Washer, oil bolt (Ref #26)
26
Part #52442-KA3-731
Болт (Ref #27)
27
Part #90101-MEG-000
Болт (Ref #27)
27
Part #90101-MEG-000
Болт (Ref #27)
27
Part #90101-MEG-000
Болт (Ref #27)
27
Part #90101-MEG-000
Bolt, socket (8x35) (Ref #28)
28
Part #90109-MCR-D00
Bolt, socket (8x35) (Ref #28)
28
Part #90109-MCR-D00
Bolt, socket (8x35) (Ref #28)
28
Part #90109-MCR-D00
Bolt, socket (8x35) (Ref #28)
28
Part #90109-MCR-D00
Bolt, socket (10x25) (Ref #29)
29
Part #90116-KK0-004
Болт (Ref #30)
30
Part #90123-MBA-000
Болт (Ref #30)
30
Part #90123-MBA-000
Болт (Ref #30)
30
Part #90123-MBA-000
Болт (Ref #30)
30
Part #90123-MBA-000
DUST SEAL (Ref #31)
31
Part #91254-MCK-A01
Прокладка (Ref #32)
32
Part #91305-MC7-000
Прокладка (Ref #32)
32
Part #91305-MC7-000
Прокладка (Ref #32)
32
Part #91305-MC7-000
Прокладка (Ref #32)
32
Part #91305-MC7-000
Прокладка (Ref #33)
33
Part #91356-KT1-671
