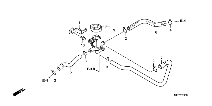
Air injection control valve
Air injection control valve
STAY (Ref #1)
1
Part #17269-MFE-640
CLIP (Ref #3)
3
Part #17724-102-700
CLIP (Ref #3)
3
Part #17724-102-700
CLIP (Ref #3)
3
Part #17724-102-700
CLIP (Ref #3)
3
Part #17724-102-700
CLIP (Ref #4)
4
Part #18532-634-670
Tube a (Ref #5)
5
Part #18651-MFE-640
Tube b (Ref #6)
6
Part #18652-MFE-640
Tube c (Ref #7)
7
Part #18653-MFE-640
Suspension (Ref #8)
8
Part #36172-MCA-A61
Valve assy. (Ref #9)
9
Part #36450-MCA-A62
BOLT (Ref #10)
10
Part #95701-060-120-0
